
OSTRZEŻENIA
|
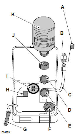
| UWAGA Wkręcenie pojemnika w uchwyt pojemnika spowoduje przebicie uszczelnienia pojemnika. Nie odkręcaj pojemnika od uchwytu, w przeciwnym razie środek uszczelniający wypłynie z pojemnika. |

Wskazówka:Podczas pompowania środka uszczelniającego przez zawór opony ciśnienie może wzrosnąć do 6 barów (87 psi), ale spadnie ponownie po około 30 sekundach.
| OSTRZEŻENIE Jeżeli podczas jazdy wystąpią silne drgania, niestabilne zachowanie układu kierowniczego lub hałasy, zmniejsz prędkość i ostrożnie dojedź do miejsca, gdzie możesz bezpiecznie zatrzymać pojazd. Ponownie sprawdź oponę i jej ciśnienie. Jeżeli ciśnienie powietrza w oponie jest niższe niż 1,3 bara (19 psi) lub jeśli są widoczne jakiekolwiek pęknięcia, wybrzuszenia lub podobne uszkodzenia, nie kontynuuj jazdy z tą oponą. |
Wyłączanie
Wyjąć kluczyk ze stacyjki.
Lub
Pojazdy z funkcją KEYLESS-GO
Start lub KEYLESS-GO: Wyłączyć silnik za
pomocą przycisku Start-Stop i otworzyć drzwi kierowcy.
Nacisnąć przycisk 1.
Lampka kontrolna 2 ...
Elektryczne podnośniki szyb
Wszystkie wersje wyposa.One sa w system bezpiecze.Stwa, ktory rozpoznaje
obecnoec ewentualnej przeszkody podczas ruchu zamykania szyby; po
rozpoznaniu tego system przerywa przesuwanie i w zależności od pozycji
szyby, zmienia się tak. ...
Sytuacja na drodze - powoli cofające się samochody
Rys. 136 System side assist: powoli cofające się samochody
Wskazanie w lusterkach zewnętrznych nie świeci
się
Wyprzedzony przez kierowcę samochód nie zostanie jeszcze zidentyfikowany
przez system sid ...